Zurück zu
AS-Motor
>
AS 53 Allrad
>
AS 53 B1/R
>
Antriebsblock
Ersatzteillisten für AS Motor AS 53 Allrad Antriebsblock
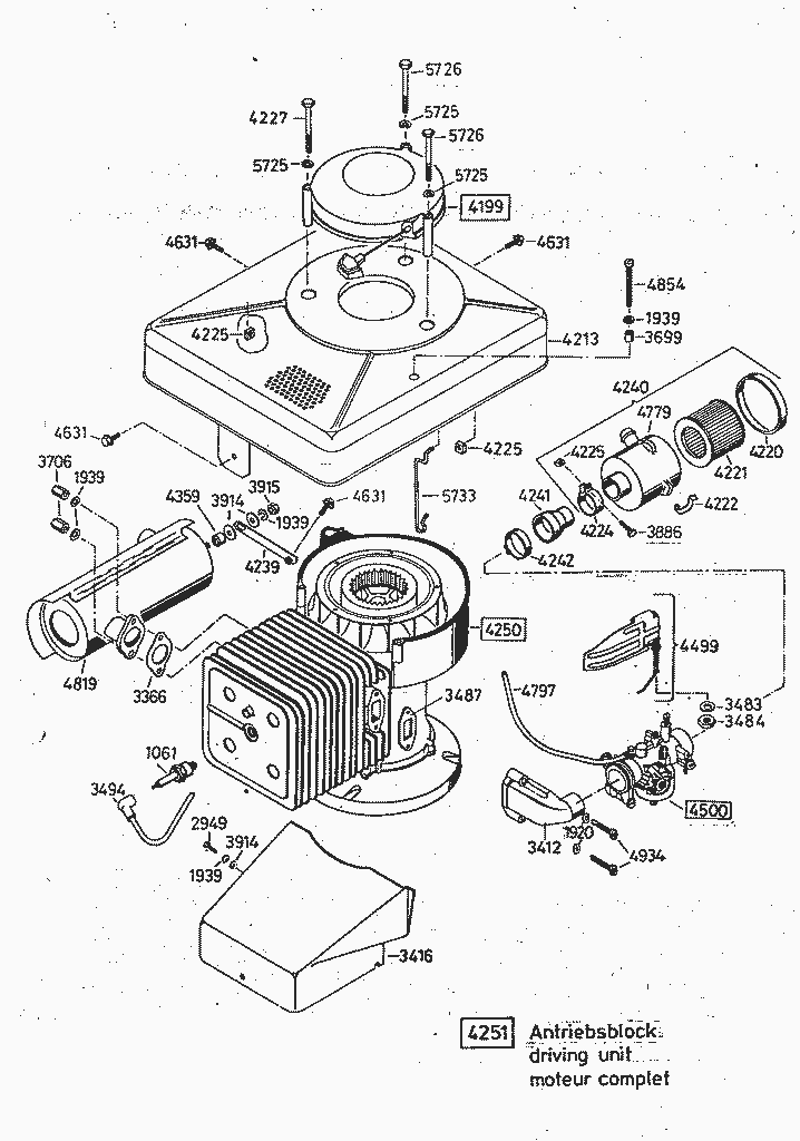
Pos.
Bezeichnung
Ersatzteilnummer
1061
ZÜNDKERZE 175/14 EA 0.5
E01061
1920
FEDERSCHEIBE
E01920
1939
FEDERRING
E01939
2949
SECHSKANTSCHRAUBE
E02949
3366
AUSPUFFDICHTUNG
E03366
3412
ANSAUGSTUTZEN
E03412
3416
KÜHLLUFTFÜHRUNG
E03416
3483
TELLERFEDER
E03483
3484
SECHSKANTMUTTER
E03484
3487
ISOLIERPLATTE
E03487
3494
ZÜNDKERZENSTECKER VOLLST.
E03494
3699
DISTANZHÜLSE
E03699
3706
SONDERMUTTER
E03706
3886
SECHSKANTSCHRAUBE
E03886
3914
SCHEIBE
E03914
3915
SECHSKANTMUTTER
E03915
4199
STARTER VOLLST.
E04199
4213
MOTORABDECKUNG KOMPL.
E04213
4220
DECKEL
E04220
4221
FILTER-EINSATZ
E04221
4222
BÜGEL
E04222
4224
ROHRSCHELLE
E04224
4225
VIERKANTMUTTER
E04225
4227
SECHSKANTSCHRAUBE
E04227
4239
HALTESTREBE
E04239
4240
DÄMPFERFILTER
E04240
4241
ADAPTER FÜR DÄMPFERFILTER
E04241
4242
SCHLAUCHSCHELLE
E04242
4250
GRUNDMOTOR AS 165D O.ANTR.
E04250
4251
ANTRIEBSBLOCK AS 165D O.ANTR.
E04251
4359
Distanzrohr 6lg.
E04359
4499
WINDFAHNENREGLER M.BEF.TEILEN
E04499
4500
VERGASER
E04500
4631
SICHERUNGSSCHRAUBE
E04631
4779
DÄMPFERFILTER GEHÄUSE
E04779
4797
KRAFTSTOFFSCHLAUCH 800 LG.
E04797
4819
ABGASSCHALLDÄMPFER
E04819
4854
ZYLINDERSCHRAUBE
E04854
4934
ZYLINDERSCHRAUBE
E04934
5725
SPERRKANTRING FÜR M6
E05725
5726
ERSETZT DURCH 3744
E05726
5733
SCHLAUCHHALTER
E05733
5862
SPERRKANTSCHEIBE
E05862
Gebrauchsanweisungen
AS Motor
AS Batterierasenmäher
AS 45 Ausputzmäher
AS 46 Variomat
AS 45 Universal
AS 53 Standard
AS 53 Allrad
AS 53 B5/R
AS 53 B5 (ab FNr. 008000404036)
AS 53 B1/R
Hinterachse
Vorderachse
Antrieb
Riemen
Holm
Grundmotor
Antriebsblock
Starter/Messer
Vergaser
Fangsack
AS 53 B6/RB
AS 55 Heckauswurf
AS 550 Heckauswurf
AS Allmäher
AS Enduro
AS Schlegelmäher
AS Mulchmeister
AS Aufsitzmäher
Samix Gartenhäcksler
AS Wildkraut-Hex
Verschleissteile
Impressum
(C) by motoruf