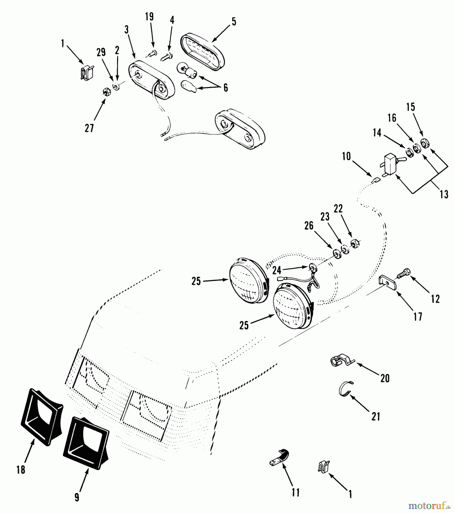
Toro 31-10K803 (310-8) - 310-8 Garden Tractor, 1992 (2000001-2999999) ELECTRICAL SYSTEM #3 Ersatzteile
ELECTRICAL SYSTEM #3 31-10K803 (310-8) - Toro 310-8 Garden Tractor, 1992 (2000001-2999999)

Hier finden Sie die Ersatzteilzeichnung für Toro Neu Mowers, Lawn & Garden Tractor Seite 1 31-10K803 (310-8) - Toro 310-8 Garden Tractor, 1992 (2000001-2999999) ELECTRICAL SYSTEM #3. Wählen Sie das benötigte Ersatzteil aus der Ersatzteilliste Ihres Toro Gerätes aus und bestellen Sie einfach online. Viele Toro Ersatzteile halten wir ständig in unserem Lager für Sie bereit.




