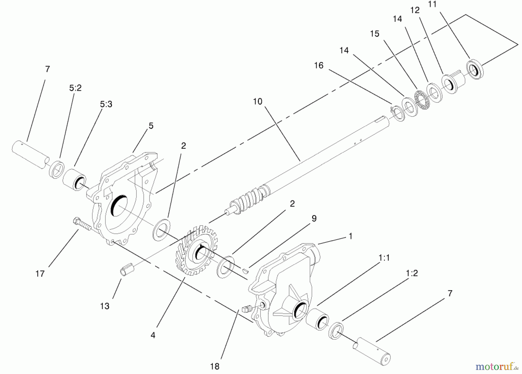
Toro 38559 (1028) - 1028 Power Shift Snowthrower, 2001 (210000001-210999999) AUGER GEARCASE ASSEMBLY NO. 74-1561 Ersatzteile
Simmerring
Artikel Nummer:
TR7-0045
BildNr:
1:2
34.22 €
für EU incl. MwSt., zzgl. Versand
Der Artikel wurde in den Einkaufswagen gelegt!
Wird für Sie bestellt: Lieferzeit ca. 5 Werktage.
Hier finden Sie die Ersatzteilzeichnung für Toro Neu Snow Blowers/Snow Throwers Seite 1 38559 (1028) - Toro 1028 Power Shift Snowthrower, 2001 (210000001-210999999) AUGER GEARCASE ASSEMBLY NO. 74-1561. Wählen Sie das benötigte Ersatzteil aus der Ersatzteilliste Ihres Toro Gerätes aus und bestellen Sie einfach online. Viele Toro Ersatzteile halten wir ständig in unserem Lager für Sie bereit.
Häufig benötigte Toro 38559 (1028) - 1028 Power Shift Snowthrower, 2001 (210000001-210999999) AUGER GEARCASE ASSEMBLY NO. 74-1561 Ersatzteile

Artikelnummer: TR7-0045
Suche nach: TR7-0045
Hersteller: Toro
Toro Ersatzteil AUGER GEARCASE ASSEMBLY NO. 74-1561
Suche nach: TR7-0045
Hersteller: Toro
Toro Ersatzteil AUGER GEARCASE ASSEMBLY NO. 74-1561
34.22 €
für EU incl. MwSt., zzgl. Versand
| BildNr | Artikel Nummer | Bezeichnung | |
| 1 | TR74-1570 | 110-3439 | |
| 1:1 | TR256-237 | BUSHING | |
| 1:2 | ![]() | TR7-0045 | Simmerring |
| 2 | TR252-71 | Scheibe | |
| 4 | TR62-0120 | Zahnrad | |
| 5 | TR74-1580 | Getriebegehaeuse Re. | |
| 5:2 | ![]() | TR7-0045 | Simmerring |
| 5:3 | TR256-237 | BUSHING | |
| 7 | TR62-1531 | Welle | |
| 9 | TR3257-10 | KEY-WOODRUFF | |
| 10 | TR66-7811 | Geblaesewelle | |
| 11 | TR253-149 | Dichtring | |
| 12 | TR37-6560 | Buchse | |
| 13 | TR62-1150 | Buechse | |
| 14 | TR252-78 | Scheibe | |
| 15 | TR252-76 | Lager | |
| 16 | TR32151-33 | Seegerring | |
| 17 | TR32144-110 | Schraube | |
| 18 | TR281-1 | Oelstopfen | |


Qualitätsmanagement
Informieren Sie uns, wenn Sie einen Fehler gefunden haben.


