Wolf-Garten FA 76 2055000 Serie B-D (1996) Vergaser Ersatzteile
GASKET
Artikel Nummer:
KA110092380
BildNr:
11009B
2.69 €
für EU incl. MwSt., zzgl. Versand
Der Artikel wurde in den Einkaufswagen gelegt!
sofort Lieferbar
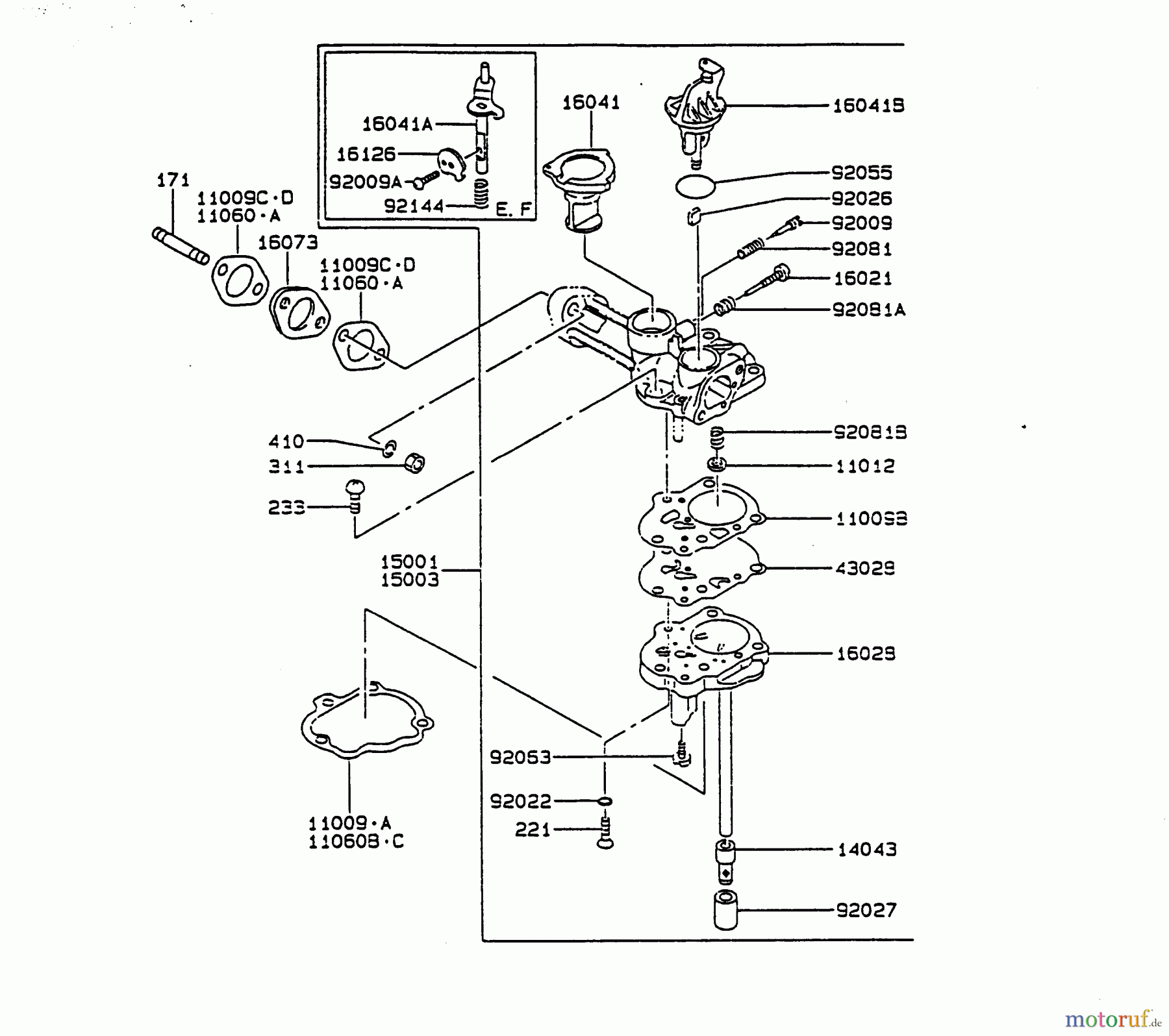
Hier finden Sie die Ersatzteilzeichnung für Wolf-Garten Benzinmotoren Kawasaki FA 76 2055000 Serie B-D (1996) Vergaser. Wählen Sie das benötigte Ersatzteil aus der Ersatzteilliste Ihres Wolf-Garten Gerätes aus und bestellen Sie einfach online. Viele Wolf-Garten Ersatzteile halten wir ständig in unserem Lager für Sie bereit.
Häufig benötigte Wolf-Garten FA 76 2055000 Serie B-D (1996) Vergaser Ersatzteile





Artikelnummer: KA110602103
Suche nach: KA110602103
Hersteller: Wolf
Wolf-Garten Ersatzteil Vergaser
Suche nach: KA110602103
Hersteller: Wolf
Wolf-Garten Ersatzteil Vergaser
2.60 €
für EU incl. MwSt., zzgl. Versand
| BildNr | Artikel Nummer | Bezeichnung | |
| 16041 | KA160412095 | SHAFT-CARBURETOR,THROTTL | |
| 16041B | KA160412096 | SHAFT-CARBURETOR | |
| 92055 | KA920552070 | O-Ring | |
| 92026 | KA920262157 | Spacer | |
| 92009 | KA920092167 | Screw | |
| 92081 | KA920812271 | Spring | |
| 16021 | KA160212010 | SCREW-THROTTLE STOP | |
| 92081A | KA920812270 | SPRING | |
| 92081B | ![]() | KA920812057 | SPRING |
| 11012 | ![]() | KA110122067 | CAP |
| 11009B | ![]() | KA110092380 | GASKET |
| 43029 | ![]() | KA430282058 | DIAOHRAGM |
| 16028 | KA160282064 | CHAMBER-MIXING | |
| 14043 | ![]() | KA140432005 | FILTER |
| 92027 | ![]() | KA920272014 | COLLAR |
| 92063 | KA920632076 | JET-MAIN #54 | |
| 92022 | KA920222066 | WASHER | |
| 221 | KA221AA0412 | SCREW | |
| 11060B | ![]() | KA110602198 | GASKET |
| 233 | KA233AA0525 | SCREW | |
| 311 | KA311AA0600 | NUT-HEX,6MM | |
| 410 | KA410AA0600 | WASHER | |
| 11060A | ![]() | KA110602103 | GASKET INSULATOR |
| 16073 | KA160732007 | INSULATOR | |
| 171 | KA171BA0622 | BOLT STUD | |


Qualitätsmanagement
Informieren Sie uns, wenn Sie einen Fehler gefunden haben.









