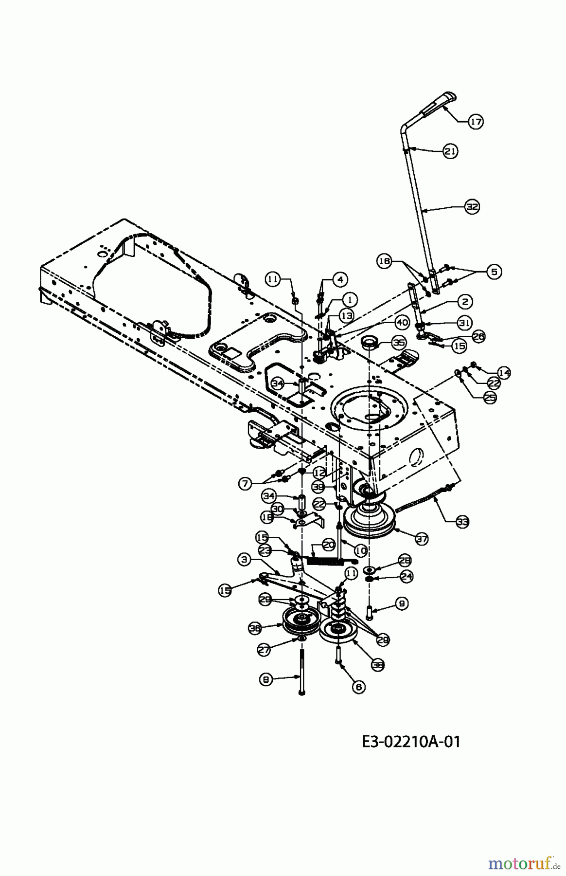
Gutbrod DLX 107 SALK 13AI606G690 (2004) Mähwerkseinschaltung, Motorkeilriemenscheibe Ersatzteile
HEBEL VOLLST.
Artikel Nummer:
647-0064
BildNr:
2
Modell BJ:
DLX 96 SA / 2004 DLX 107 SA / 2004 DLX 107 SALK / 2004 AF 6135 / 2004 AG 6145 / 2004 AG 6150 K / 2004
DINNORM:
647-0064
Nicht mehr lieferbar.

Hier finden Sie die Ersatzteilzeichnung für Gutbrod Rasentraktoren DLX 107 SALK 13AI606G690 (2004) Mähwerkseinschaltung, Motorkeilriemenscheibe. Wählen Sie das benötigte Ersatzteil aus der Ersatzteilliste Ihres Gutbrod Gerätes aus und bestellen Sie einfach online. Viele Gutbrod Ersatzteile halten wir ständig in unserem Lager für Sie bereit.


Qualitätsmanagement
Informieren Sie uns, wenn Sie einen Fehler gefunden haben.



















