Zurück zu
>
Roth / TORO
>
Handgeräte
>
Schneefräsen
>
zweistufig
>
1232 PowerShift
>
630/38591
>
99000001
>
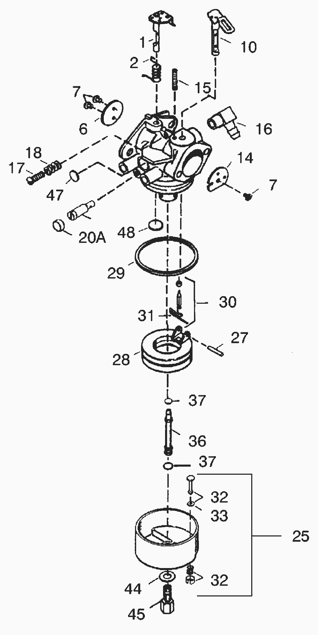
Vergaser Nr. 640105
Ersatzteillisten für Toro Roth / TORO Vergaser Nr. 640105
Pos.
Bezeichnung
Ersatzteilnummer
1
Throttle-Shaft & Lever Asm
632512
2
Schenkelfeder
631970
6
Throttle Shutter
640107
7
Schraube
650506
10
Choke Shaft & Lever Asm
632513
14
Choke Shutter
632429A
15
Druckfeder
630735
16
Fuel Fitting
632527
17
Schraube s
651025
18
Feder
630766
20
Duese s
640016
20
Duesenkappe s
640053
25
Float Bowl Asm.
632594A
27
Haltestift
631024
28
Schwimmer
632019
29
Dichtring
631028
30
Schwimmerventil
631021
31
Klemmfeder
631022
32
Ablassventil
27136
33
Dichtung
27554
36
Duesenstock s
640005
37
O-Ring s
632547
40
Schraube s
640106
44
Dichtung
27110
47
Plug, Welch
630748
48
Stopfen
631027
Gebrauchsanweisungen
Toro
Roth / TORO
Aufsitzmäher
Handgeräte
Kehrmaschinen
Schneefräsen
Zubehör
zweistufig
1332 PowerShift
1232 PowerShift
630/38591
890000001
99000001
Tecumseh Starter NO 590733 (wahlw.)
Tecumseh Starter Nr. 590749
Motor Tecumseh Modell OHSK120-223619A (Modell 38591)
Vergaser Nr. 640105
Trommel Getriebegehäuse Nr. 74-1562
Antrieb (Fortsetzung)
Antrieb
Holm (Fortsetzung)
Holm
Antrieb Gestänge
Motor & Getriebe Antrieb
Getriebe Nr. 66-8030 (Fortsetzung)
Getriebe Nr. 66-8030
Gehäuse (Fortsetzung)
Gehäuse
79000001
69000001
1132 PowerShift
1132
1028 PowerShift
924 PowerShift
828 PowerShift
824 PowerShift
824 XL
824
724
624 PowerShift
622
521
3521
einstufig
Sauger/Bläser
Rasenmäher
Robin
Impressum
(C) by motoruf