Zurück zu
>
Roth / TORO
>
Aufsitzmäher
>
Traktor
>
246 HE
>
309/72101
>
3900001
>
Hauptrahmen
Ersatzteillisten für Toro Roth / TORO Hauptrahmen
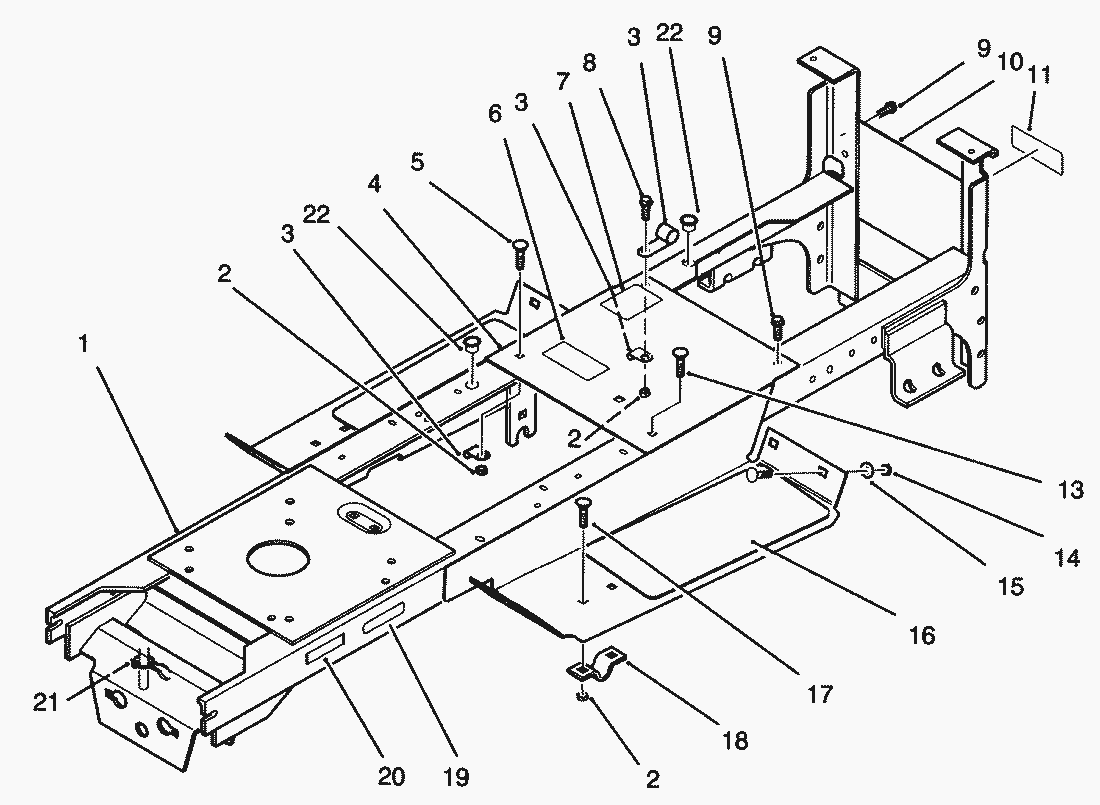
Pos.
Bezeichnung
Ersatzteilnummer
Panel & Safety Decal Assy. (Incl. Ref.
92-6347
Frame & Safety Decal Assy. (Incl. Ref.
92-6348
Pos.
Bezeichnung
Ersatzteilnummer
2
MUTTER
3296-29
3
Clip
100729
5
Bolt-Carriage
9002159
6
Decal-Danger Mower
79-0370
7
Decal-Parking
79-0120
8
Bolt
926696
9
S.W. Form Screw
926720
10
Panel-Rear
79-0681
11
Decal-Danger
88-2790
13
Schloss Schraube
3230-23
14
Mutter
3217-6
15
Washer-Lock
3254-23
16
Pad-Footrest
110636
17
Bolt-Carriage
3220-23
18
Klemmschelle
106288
19
Decal-Belt Installations
79-7020
20
Decal-Attach-A-Matic
115197
21
Cable Tie
100571
22
Buechse
79-4050
Gebrauchsanweisungen
Toro
Roth / TORO
Aufsitzmäher
Traktor
264-6
246 HE
309/72101
3900001
Elektro-Schaltplan
Getriebe (Eaton Modell 751-045)
Motor (TORO Power Plus)
Kotflügel & Sitz
Hydrauliktank
Hinterrad & Getriebe
Bremse & Hydraulik-Gestänge
Bremspedal
Spannrolle & Pedalwelle
Aushubgestänge
Armaturenbrett
Lenkwelle & Anzeigen
Lenkrad & Konsole
Kraftstofftank & Lenkung Halter
Kupplung 92-1686
Batteriebefestigung
Motor & Kupplung
Vorderachse
Hauptrahmen
Haube
244-5
212-H
212-5
17-44 HXLE
16-44 HXL
16-38 HXL
16-38 XLE
15-44 HXL
15-38 HXL
14-38 HXL
14-38 XL
13-38 HXL
13-38 XL
13-32 XLE
12-38 HXL
12-38 XL
12-32 XL
264 H
265 H
267 H
268 H
270 H
520 xi
520 Lxi
523 Dxi
Rider
Mähwerke
Zubehör
Handgeräte
Robin
Impressum
(C) by motoruf