Zurück zu
>
Roth / TORO
>
Aufsitzmäher
>
Traktor
>
246 HE
>
309/72101
>
3900001
>
Haube
Ersatzteillisten für Toro Roth / TORO Haube
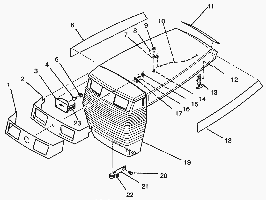
Pos.
Bezeichnung
Ersatzteilnummer
Hood Assembly (Incl. Ref.
88-2781
Pos.
Bezeichnung
Ersatzteilnummer
1
Decal-Front Hood
116874
2
Light Bar
116601
3
Lampenhalter
111684
4
Birne (2)
7228
5
Birnenfassung
116262
6
Klebeschild
79-4160
7
Clevis
115413
8
Washer-Backing
112925
9
Nut-Hex
915740
10
Haubenseil
78-9341
11
Decal-Danger
88-0010
12
Pop Rivet
117432
13
Handle w/Bracket (109237)
117344
14
Schraube
78-8710
15
Fleugelmutter
32103-19
16
Scheibe
103995
17
Clip-J
111392
18
Klebeschild
79-4170
20
S.W. Form Screw
926720
21
Bracket-Hood Mtg. L.H.
79-4190
Bracket-Hood Mtg. R.H.
79-4200
22
Mutter
79-2590
23
Stecker
111685
Kabel
115204
Lampe
116591
Gebrauchsanweisungen
Toro
Roth / TORO
Aufsitzmäher
Traktor
264-6
246 HE
309/72101
3900001
Elektro-Schaltplan
Getriebe (Eaton Modell 751-045)
Motor (TORO Power Plus)
Kotflügel & Sitz
Hydrauliktank
Hinterrad & Getriebe
Bremse & Hydraulik-Gestänge
Bremspedal
Spannrolle & Pedalwelle
Aushubgestänge
Armaturenbrett
Lenkwelle & Anzeigen
Lenkrad & Konsole
Kraftstofftank & Lenkung Halter
Kupplung 92-1686
Batteriebefestigung
Motor & Kupplung
Vorderachse
Hauptrahmen
Haube
244-5
212-H
212-5
17-44 HXLE
16-44 HXL
16-38 HXL
16-38 XLE
15-44 HXL
15-38 HXL
14-38 HXL
14-38 XL
13-38 HXL
13-38 XL
13-32 XLE
12-38 HXL
12-38 XL
12-32 XL
264 H
265 H
267 H
268 H
270 H
520 xi
520 Lxi
523 Dxi
Rider
Mähwerke
Zubehör
Handgeräte
Robin
Impressum
(C) by motoruf