Zurück zu
>
Roth / TORO
>
Handgeräte
>
Rasenmäher
>
4-Takt Radantrieb
>
477
>
320000
>
Führungsholm
Ersatzteillisten für Toro Roth / TORO Führungsholm
Pos.
Bezeichnung
Ersatzteilnummer
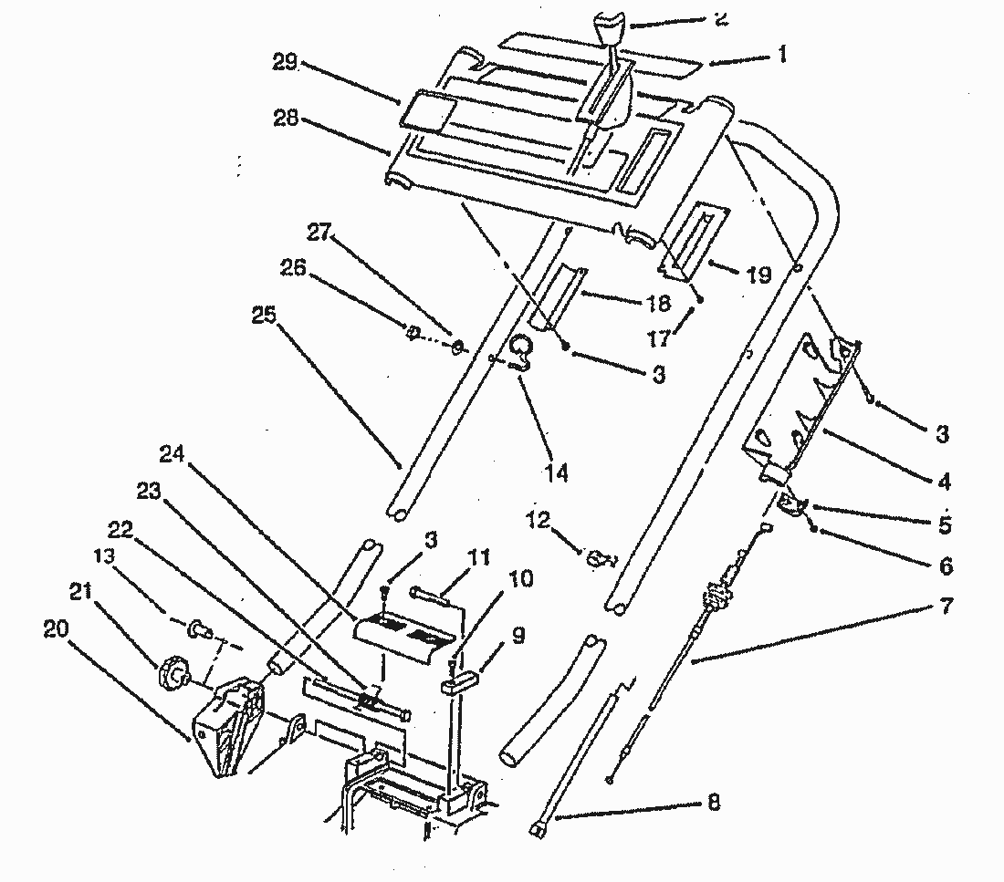
1
PVC-KLEBESCHILD INFO
19704
2
Sparkplug Wrench
19374
3
Schraube
18346
4
UNTERSCHALE LINKS
19099
5
DECKEL
18363
6
SCHRAUBE
18364
7
ANTRIEBSBOWDENZUG
19901
8
BOWDENZUG - MOTORSTOP
19900
9
Haltelasche
18311
10
Schraube
18481
11
Holmschraube-Links
18310
12
KLETTBAND
19533
13
ROHRNIETE
20128
14
SEILFUEHRUNG
18960
17
SCHRAUBE
18372
18
HALTEPLATTE
18517
19
BEFESTIGUNGSBLECH
18516
20
HOLMBEFESTIGUNG RECHTS
20216
20
HOLMBEFESTIGUNG LINKS
20215
21
Drehknopf
18320
22
Holmschraube-Rechts
18309
23
Schenkelfeder
18312
24
Griffdeckel
18345
25
FUEHRUNGSHOLM
20015
26
HUTMUTTER
13891
27
SCHEIBE
07674
28
PANEELE
19693
29
KLEBESCHILD (TORO)
18408
Gebrauchsanweisungen
Toro
Roth / TORO
Aufsitzmäher
Handgeräte
Kehrmaschinen
Schneefräsen
Sauger/Bläser
Rasenmäher
Grasfangvorrichtungen
4-Takt Radantrieb
498/26638
498/26633
498/26633 B
498/26631 B
496/26639
496/26636
496/26636 B
496/26635 BC
496/26625 BG
495/26637
495/26632
495/26632 B
495/26630 BC
495/26630 BG
495/26620 BG
494/20784
494/20791
493/20783
493/20789
492/20787
492/20778
491/20786
491/20777
491/20328 B
490/20327 B
489/20927 B
489/20926 B
489/20925
488/20920
487/20914
487/20909 BC
487/20905
479
477
350000
335000
330000
320000
Motor B&S
Fangkorb
Schaltbügel
Führungsholm
Messer
Getriebe
Motor
Fahrgestell
Antrieb
310000
300000
290000
280000
270000
260000
250000
469
465/20781
465/20779
464
459/20824
459/20821
459/20821 B
459/20820 BC
458/20823
458/20822
457
456/20808
456/20808 B
456/20807 BC
456/20806 B
455/20803
455/20803 B
455/20802 BC
455/20801 B
453
449
439
437/22173
437/22157
437/22154
437/22154 B
437/22153 BC
434
424
421/20652
417/20832
417/20829
417/20827
416/20831
416/20828
416/20826
415/20817
415/20811
4-Takt
2-Takt Radantrieb
2-Takt
Elektro
Akku
Robin
Impressum
(C) by motoruf